欢迎光临中山市新阔光伏科技有限公司
CN

太阳能西气东输公司管道智能视频监控监督检查

2021-12-17 中山市新阔光伏科技有限公司
太阳能西气东输公司管道智能视频监控监督检查

blob.png


太阳能西气东输公司管道智能视频监控预警(四期)项目工程质量监督检查报告

我公司供货的太阳能监控供电系统第一轮监督检查共抽查其涉及的1个输气分公司所属的7个安装点,占检查结束时8个已安装点位的90%左右。该标段主要问题如下:

1.共性问题

1)混凝土基础有配比规定,无配比记录;有保养时间规定,无保养记录;按GB5204标准及其施工方案规定,混凝土应留置一组同条件试块,以验证混凝土强度,但其未执行该规定。

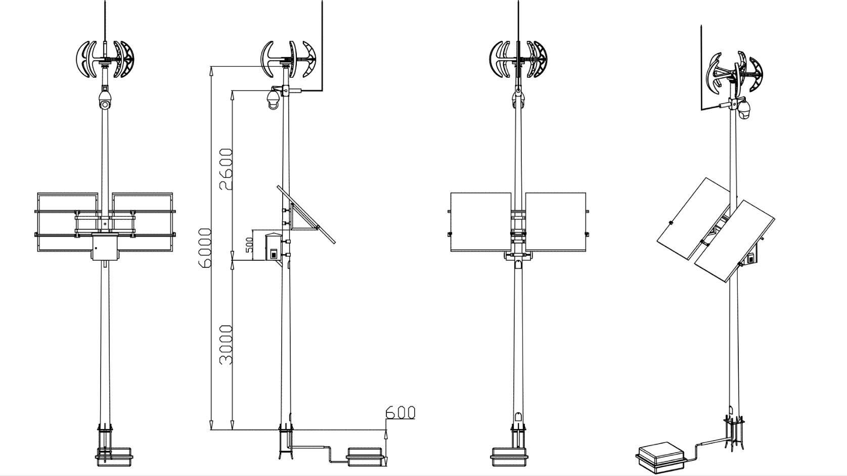
2)《设备定型方案》要求预埋件“钢板厚度不低于 8mm”,实际使用φ6mm钢筋交叉焊接,与方案要求存在偏离(见下图)。

3)立杆材料规定“要求使用镀锌 Q235 钢管,钢管壁厚 5.0mm”,实测为5.6mm壁厚。油漆表面磕碰损伤较多,现场用聚氨酯漆刷补,修补效果尚可(见下图)。

4)《设备定型方案》要求太阳能板位置“,靠近杆体的边缘须与杆体保持平齐”,实际安装位置与要求存在偏离(见下图)。

5)《设备定型方案》要求避雷接地引下装置“扁钢两端开孔,一端与杆体地笼螺杆锁死,一端口与引地地针锁死。焊接不少于对角 2 处预留引下主钢筋,焊接后涂抹沥青。地针顶部距离地面不低于 5cm,地面应做好绝缘处理(混凝土、碎石、沥青)”,实际扁钢一端焊接在杆体外侧,地面未做绝缘处理(见下图)。接地电阻无测量手段,实际接地电阻未进行测量。

6)警示牌内容格式仍在确认中,现场均未安装。  

7)连接紧固件要求采用A2-70不锈钢材料,实际存在不锈钢螺栓与4.8级钢制镀锌螺栓混用现象。

8)光伏配电箱未提供IP54防护等级试验报告。

9)材质报告、物料出厂质量证明、及主要元器件技术规格书未提供,仍在收集中。

3.其他问题

原定的“现场喊话”及“摄像机旋转功能验证”项目,由于不具备现场测试条件,故未进行检查。

4.问题综述及简析

1)技术交底情况良好,苏浙沪现场施工人员对基础的尺寸制作较一致(600*600*800mm),但对于现场浇筑混凝土时需留一组强度试块要求不了解;对于太阳能箱抱箍加需加防滑绝缘橡胶垫要求,上海颐库是三个标段中唯一执行到位的单位,且太阳能板外露接线走线规整、整体装置清洁度较好(见下图);苏浙沪控现场施工人员对于安装基础需离开管道中心线5m之外的要求较为清楚,但施工人员现场安装时无有效措施防护表面油漆质量,立杆等物资运输、包装、搬运方式不合理,造成油漆磕碰较多。不锈钢抱箍加成型绝缘护套外露走线规整整体装置清洁度较好

2立杆结构与最终版《设备定型方案》要求最为符合;虽然现场接地电阻无测试手段、接地系统地面未做绝缘处理,但其响应及时,次日已购入接地电阻测试仪并拿出了接地地面绝缘方案。

3)“基础不应在管道中心线两侧5m范围内”要求执行情况一般,抽查的7处安装点位有4个别点位不符合上述要求,占比约60%。

4)部分非不锈钢紧固件需要更换或采取防腐补救措施,以防止紧固件因锈蚀失效。

5)相关原材料材质证明、物料及元器件质量证明、技术规格书应尽快收集齐全,以免影响验收进度。

close
请选择显示的语言
close
close